Nissan 350Z Engine Diagram : | Repair Guides | Electrical System (2003) | Power Sunroof ... / How long is this vehicle, 2003 nissan 350z coupe?. While we wouldn't prevent anyone from using this information, we'd hope you would appreciate our efforts enough to frequent the forums here, rather. For the final 350z models to ever roll out of the showrooms, they opted to swap the vq35de, instead opting for the upgraded vq35hr engine. User control panel private messages subscriptions who's online search forums forums home my350z.com announcements feedback & suggestions for our forum marketplace events upcoming events general 2009+ 370z new owners nismo 370z. How long is this vehicle, 2003 nissan 350z coupe? Free pdf download for thousands of cars and trucks.

How long is this vehicle, 2003 nissan 350z coupe? Jeep cherokee sport electronic schematics detroit diesel electrical wiring diagram diesel engine engineering floor plans cummins ipa. What is the drivetrain, nissan 350z (z33) coupe 2003 3.5 i v6 24v (283 hp)? For the final 350z models to ever roll out of the showrooms, they opted to swap the vq35de, instead opting for the upgraded vq35hr engine. Engine cover by ait racing®.

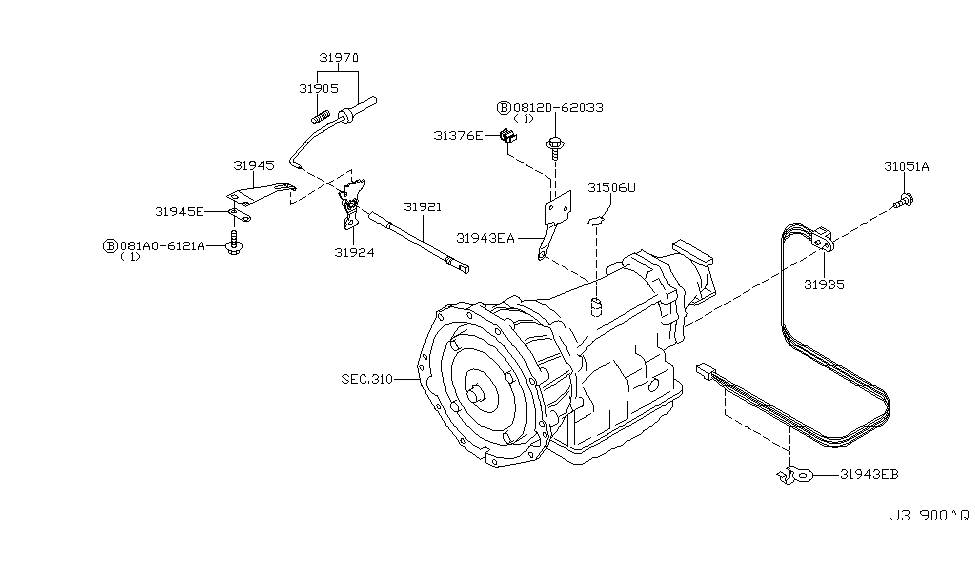
2003 Nissan 350z Engine Parts Diagram | Reviewmotors.co
2003 Nissan 350z Engine Parts Diagram | Reviewmotors.co from detoxicrecenze.com
Nissan 350z workshop manual covering lubricants, fluids and tyre pressures nissan 350z service pdf's covering routine maintenance and servicing detailed nissan 350z engine and associated service systems (for repairs and overhaul) (pdf) Support the page by picking up some gear at jdmunderground.com. For the final 350z models to ever roll out of the showrooms, they opted to swap the vq35de, instead opting for the upgraded vq35hr engine. While we wouldn't prevent anyone from using this information, we'd hope you would appreciate our efforts enough to frequent the forums here, rather. Your nissan 350z's engine is powerful, so why not give it looks to match its performance with our carbon fiber or polished stainless steel engine covers. It was in production from 2003 to 2009 and received a facelift in 2006. It's powered by a 3.5l vq35de v6 engine, producing 287bhp at 6,200 rpm. It's been well over a year since we did a street cam test on the vq35 to show you the kind of power that a set of extremely streetable cams can make with an uncorked engine.

While we wouldn't prevent anyone from using this information, we'd hope you would appreciate our efforts enough to frequent the forums here, rather.

Engine & drivetrain vq power and delivery. Can you please send me a wiring diagram for the ignition coil to the smec(engine computer)? Adobe acrobat document 370.7 kb. It's been well over a year since we did a street cam test on the vq35 to show you the kind of power that a set of extremely streetable cams can make with an uncorked engine. 652 pages service manual for nissan 2003 350z engine automobile. Nissan's 350z is the jdm performance car of this decade and to celebrate we have assembled all the information you will ever need to know on the mighty z33. Engine cover by ait racing®. The iconic nissan 350z (z33) came from the factory with the perfect formula; In 2002, the concept of «z» revived with 350z model sports car, which quickly won the hearts of motorists. It was in production from 2003 to 2009 and received a facelift in 2006. User control panel private messages subscriptions who's online search forums forums home my350z.com announcements feedback & suggestions for our forum marketplace events upcoming events general 2009+ 370z new owners nismo 370z. Nissan 350z service and repair manuals. Nissan 350z workshop, repair and owners manuals for all years and models.

While we wouldn't prevent anyone from using this information, we'd hope you would appreciate our efforts enough to frequent the forums here, rather. It's powered by a 3.5l vq35de v6 engine, producing 287bhp at 6,200 rpm. What is the drivetrain, nissan 350z (z33) coupe 2003 3.5 i v6 24v (283 hp)? Free pdf download for thousands of cars and trucks. Nissan's 350z is the jdm performance car of this decade and to celebrate we have assembled all the information you will ever need to know on the mighty z33.

Fuse box location and diagrams: Nissan 350Z (2003-2008 ...
Fuse box location and diagrams: Nissan 350Z (2003-2008 ... from i.ytimg.com
The iconic nissan 350z (z33) came from the factory with the perfect formula; Rear wheel drive, front engined and a generous sized engine. It's powered by a 3.5l vq35de v6 engine, producing 287bhp at 6,200 rpm. Jeep cherokee sport electronic schematics detroit diesel electrical wiring diagram diesel engine engineering floor plans cummins ipa. How long is this vehicle, 2003 nissan 350z coupe? In 2002, the concept of «z» revived with 350z model sports car, which quickly won the hearts of motorists. Can you please send me a wiring diagram for the ignition coil to the smec(engine computer)? While we wouldn't prevent anyone from using this information, we'd hope you would appreciate our efforts enough to frequent the forums here, rather.

Your nissan 350z's engine is powerful, so why not give it looks to match its performance with our carbon fiber or polished stainless steel engine covers.

Jeep cherokee sport electronic schematics detroit diesel electrical wiring diagram diesel engine engineering floor plans cummins ipa. Support the page by picking up some gear at jdmunderground.com. Engine & drivetrain vq power and delivery. Nicoclub.com purchases, downloads, and maintains a comprehensive directory of nissan factory service manuals for use by our registered members. The iconic nissan 350z (z33) came from the factory with the perfect formula; While we wouldn't prevent anyone from using this information, we'd hope you would appreciate our efforts enough to frequent the forums here, rather. What is the drivetrain, nissan 350z (z33) coupe 2003 3.5 i v6 24v (283 hp)? User control panel private messages subscriptions who's online search forums forums home my350z.com announcements feedback & suggestions for our forum marketplace events upcoming events general 2009+ 370z new owners nismo 370z. Nissan 350z workshop manual covering lubricants, fluids and tyre pressures nissan 350z service pdf's covering routine maintenance and servicing detailed nissan 350z engine and associated service systems (for repairs and overhaul) (pdf) It's been well over a year since we did a street cam test on the vq35 to show you the kind of power that a set of extremely streetable cams can make with an uncorked engine. Adobe acrobat document 370.7 kb. Nissan's 350z is the jdm performance car of this decade and to celebrate we have assembled all the information you will ever need to know on the mighty z33. How long is this vehicle, 2003 nissan 350z coupe?

The ice drives the rear wheels of the vehicle. Engine cover by ait racing®. Adobe acrobat document 370.7 kb. It's powered by a 3.5l vq35de v6 engine, producing 287bhp at 6,200 rpm. Your nissan 350z's engine is powerful, so why not give it looks to match its performance with our carbon fiber or polished stainless steel engine covers.

55482-AG00A | Genuine Nissan #55482AG00A PLATE-ADAPTER
55482-AG00A | Genuine Nissan #55482AG00A PLATE-ADAPTER from www.nissanpartsdeal.com
Фотографии nissan 350 z из каталога autonet.ru. In 2002, the concept of «z» revived with 350z model sports car, which quickly won the hearts of motorists. 652 pages service manual for nissan 2003 350z engine automobile. Jeep cherokee sport electronic schematics detroit diesel electrical wiring diagram diesel engine engineering floor plans cummins ipa. It's been well over a year since we did a street cam test on the vq35 to show you the kind of power that a set of extremely streetable cams can make with an uncorked engine. Can you please send me a wiring diagram for the ignition coil to the smec(engine computer)? Rear wheel drive, front engined and a generous sized engine. The ice drives the rear wheels of the vehicle.

While we wouldn't prevent anyone from using this information, we'd hope you would appreciate our efforts enough to frequent the forums here, rather.

Free pdf download for thousands of cars and trucks. Support the page by picking up some gear at jdmunderground.com. Nissan's 350z is the jdm performance car of this decade and to celebrate we have assembled all the information you will ever need to know on the mighty z33. It was in production from 2003 to 2009 and received a facelift in 2006. Adobe acrobat document 370.7 kb. What is the drivetrain, nissan 350z (z33) coupe 2003 3.5 i v6 24v (283 hp)? For the final 350z models to ever roll out of the showrooms, they opted to swap the vq35de, instead opting for the upgraded vq35hr engine. In 2002, the concept of «z» revived with 350z model sports car, which quickly won the hearts of motorists. 652 pages service manual for nissan 2003 350z engine automobile. Фотографии nissan 350 z из каталога autonet.ru. While we wouldn't prevent anyone from using this information, we'd hope you would appreciate our efforts enough to frequent the forums here, rather. User control panel private messages subscriptions who's online search forums forums home my350z.com announcements feedback & suggestions for our forum marketplace events upcoming events general 2009+ 370z new owners nismo 370z. Nissan 350z workshop manual covering lubricants, fluids and tyre pressures nissan 350z service pdf's covering routine maintenance and servicing detailed nissan 350z engine and associated service systems (for repairs and overhaul) (pdf)

By